Potencia de salida: 1 mW
Tamaño (mm):13,5*22,2
El UWB3000F00-X1 adopta la serie de circuitos integrados DW3000 de Qorvo, un transceptor integrado de banda ultra ancha (UWB) de un solo chip, de bajo consumo y bajo coste, que cumple con el protocolo estándar IEEE 802.15.4-2020. Se puede utilizar en sistemas de medición de distancia bidireccional y TDoA, con una precisión de posicionamiento de 10 centímetros.
Parámetro | Condición | Mín. | Típico. | Máx. | Unidad |
Voltaje de suministro | 2.4 | 3.3 | 3.6 | V | |
Rango de temperatura de funcionamiento | - 40 | 25 | 85 | °C | |
Rango de frecuencia | CH5 | 6489.6 | megahercio | ||
CH9 | 7987.2 | megahercio | |||
Velocidad de datos | 850k | 6,8 millones | puntos básicos | ||
Consumo actual | |||||
Corriente de sueño | <1 | tu A | |||
Corriente de recepción continua | 72 | mamá | |||
Corriente de transmisión continua (paquete de datos) | 67 | m A | |||
Corriente de medición de rango | Corriente media | 21 | mamá | ||
Corriente pico | 72 | mamá | |||
Parámetros de RF | |||||
Potencia de transmisión | @VCC= 3,3 V | -30 | 0 | dBm | |
Ancho de banda de transmisión ( BW) | 499.2 | megahercio | |||
Parámetros de recepción | |||||
Sensibilidad Rx | @850 Kbps | - 100 | dBm | ||
@6,8 Mbps | -94 | dBm | |||
Admite CH5 y CH9 (6489,6 MHz y 7987,2 MHz)
Velocidades de datos de 850 Kpbs y 6,8 Mbps
Longitud del paquete de hasta 1023 bytes
Admite esquemas de posicionamiento TDoA y de alcance bidireccional
Potencia de transmisión programable
Ubicación de activos con una precisión de 10 cm
Posicionamiento del personal en la producción industrial a gran escala
Diversos escenarios de posicionamiento en interiores
Posicionamiento de minas de carbón subterráneas
Posicionamiento del personal hospitalario


N.º de pin | Definición de pin | E/S | Descripción |
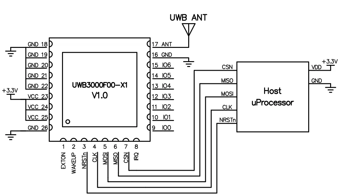
1 | EXTON | HACER | Habilitación de dispositivo externo. Se activa durante la activación y permanece activa hasta que el dispositivo entra en modo de suspensión. Permite controlar un convertidor CC-CC externo u otros circuitos innecesarios mientras el dispositivo está en modo de suspensión, con el fin de minimizar el consumo de energía. Para más información, consulte la hoja de datos del DW3000. |
2 | DESPERTAR | DI | Cuando se configura en un nivel alto válido, el pin WAKEUP activa el DW3000 del modo de suspensión o de sueño profundo. Si no se utiliza, este pin puede conectarse a tierra. |
3 | NRSTn | Dio | Pin de reinicio. Salida activa baja. Puede activarse a bajo voltaje mediante un controlador externo de drenaje abierto para reiniciar el dispositivo. |
4 | CLK | DI | Reloj SPI |
5 | MOSI | DI | Entrada de datos SPI |
6 | MISO | HACER | Salida de datos SPI |
7 | CSN | DI | Selección de chip SPI. Esta es una entrada de habilitación activa-baja. Un flanco descendente en SPICSn indica el inicio de una nueva transacción SPI. SPICSn también puede servir como señal de activación para que el DW3000 salga del modo de suspensión o de sueño profundo. |
8 | IRQ | DI | Salida de solicitud de interrupción del DWM3000 al procesador host. Por defecto, IRQ es una salida activa-alta, pero puede configurarse como activa-baja si es necesario. Para un correcto funcionamiento en los modos SLEEP y DEEPSLEEP, debe configurarse como activa-alta. Este pin está flotante durante los estados SLEEP y DEEPSLEEP y puede causar falsas interrupciones a menos que se active. Si no se utiliza la función IRQ, este pin puede reconfigurarse como E/S de propósito general (GPIO8). |
9 | GPIO0 | Dio | Pines de E/S de uso general: consulte la hoja de datos del chip para obtener más detalles |
10 | GPIO1 | Dio | Pin de E/S de uso general, consulte la hoja de datos del chip para obtener más detalles . |
11 | GPIO2 | Dio | Pin de E/S de uso general, consulte la hoja de datos del chip para obtener más detalles |
12 | GPIO3 | Dio | Pin de E/S de uso general, consulte la hoja de datos del chip para obtener más detalles |
13 | GPIO4 | Dio | Pin de E/S de uso general, consulte la hoja de datos del chip para obtener más detalles |
14 | GPIO5 | Dio | Pin de E/S de uso general, consulte la hoja de datos del chip para obtener más detalles |
15 | GPIO6 | Dio | Pin de E/S de uso general, consulte la hoja de datos del chip para obtener más detalles |
16,18,19, 20, 21, 22, 26 | Tierra | Conectar a tierra (GND) | |
17 | HORMIGA | Conexión de antena externa de 50 Ω | |
23, 24, 25 | VCC | Conectar al terminal positivo de la fuente de alimentación (2,4–3,6 V) |

política de privacidad
· Política de privacidad
Actualmente no hay contenido disponible
Correo electrónico:sales@nicerf.com
Teléfono:+86-755-23080616