Aug . 2023
El protocolo ANT+ es una tecnología de transmisión inalámbrica de bajo consumo que se utiliza principalmente para la transferencia de datos entre dispositivos de fitness, sensores deportivos y dispositivos inteligentes. Opera en 2,4 GHz y ofrece características de bajo consumo de energía, baja latencia y alta confiabilidad. El protocolo ANT+ tiene amplias aplicaciones en la industria del fitness, como monitorización de la frecuencia cardíaca, conteo de pasos y seguimiento de movimiento. Por lo tanto, para dispositivos deportivos compactos, los módulos ANT+ no solo deben considerar el consumo de energía sino también centrarse en el diseño de módulos miniaturizados. Un diseño de módulo de tamaño pequeño facilita la integración y ayuda a reducir el volumen y el peso total de los dispositivos. Además, existe una demanda de soluciones de módulos personalizados en escenarios de aplicación específicos.

El módulo RF51422 es un módulo transceptor inalámbrico ANT+ con interfaz UART, equipado con un chip System-on-Chip (SOC) de alto rendimiento y una pila de protocolo ANT+ integrada. Los clientes pueden establecer comunicación entre dispositivos ANT+ directamente a través de comandos UART estándar, lo que lo hace adecuado para desarrollar productos que cumplan con el protocolo ANT+ estándar. Este módulo es compatible con la mayoría de dispositivos con protocolo ANT+ disponibles en el mercado. El módulo RF51422 se produce y prueba utilizando tecnología sin plomo, cumpliendo con los estándares RoHS y Reach.

El módulo RF51422 presenta los siguientes perfiles ANT+ integrados:
Estos perfiles ANT+ integrados permiten que el módulo RF51422 admita una amplia gama de aplicaciones y proporcione conectividad y transmisión de datos perfectas para varios dispositivos compatibles con ANT+.
Los parámetros de rendimiento del RF51422 son los siguientes:
Parámetro | mín. | TP | máx. | Unidad | Condición |
Condiciones de operación | |||||
Tensión de alimentación | 1.8 | 3.3 | 3.6 | V |
|
Rango de temperatura de funcionamiento | -40 | 25 | 85 | ℃ |
|
Consumo actual | |||||
Corriente de emisión |
| 6.8 | 8 | mamá | @3.3V |
Recibir actual |
| 2.9 |
| mamá | @3.3V |
Dormir actual |
| 0,26 |
| mamá |
|
Después de encender el módulo, abrirá automáticamente el canal de escaneo del dispositivo ANT+ y emitirá un mensaje de inicio a través del puerto serie. En este momento, si hay dispositivos ANT+ transmitiendo datos, el puerto serie emitirá continuamente los datos recibidos. Si no necesita este canal de escaneo, puede cerrarlo usando comandos específicos. El módulo tiene tres modos de trabajo: modo normal, modo de suspensión y modo de actualización de firmware. Otra característica de este módulo es su diseño de pequeño tamaño.
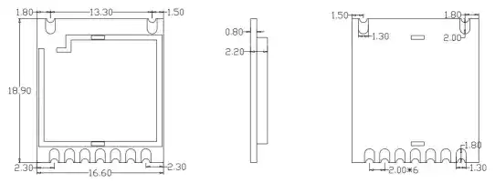
Dimensiones mecánicas del módulo (Unidad: mm, Tolerancia: ±0,01 mm)

Para el módulo de interfaz de protocolo ANT+, el módulo RF51422 no solo cumple con los requisitos de bajo consumo de energía y diseño de tamaño pequeño, sino que también ofrece soluciones personalizadas adaptadas a necesidades específicas. Desde dimensiones, características hasta rendimiento, desde diseño, desarrollo hasta pruebas, NiceRF se centra en crear soluciones personalizadas para garantizar la calidad y el rendimiento de los módulos personalizados.
+86-755-23080616
ventas@nicerf.com
Sitio web: https://www.nicerf.com/
Dirección: 309-314, 3/F, Bldg A, edificio comercial Hongdu, Zona 43, Baoan Dist, Shenzhen, China
política de privacidad
· Política de privacidad
Actualmente no hay contenido disponible
Correo electrónico:sales@nicerf.com
Teléfono:+86-755-23080616